ASTM A307 Calidad A ASME B18.2.1 Tornillos hexagonales Chapado en zinc
ASTM A307 Calidad A ASME B18.2.1 Tornillos hexagonales Chapado en zinc

|
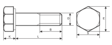
Size – INCH
|
Pitch-UNC
|
E (Min.)
|
E (Max.)
|
S (Min.)
|
S (Max.)
|
B
<6"(s)
|
B
>6"(L)
|
K (Min.)
|
K (Max.)
|
|
1/2
|
13
|
0.84
|
0.866
|
0.736
|
0.750
|
1.250
|
1.500
|
0.302
|
0.323
|
|
9/16
|
12
|
0.91
|
0.938
|
0.798
|
0.812
|
1.375
|
1.625
|
0.348
|
0.371
|
|
5/8
|
11
|
1.051
|
1.083
|
0.922
|
0.938
|
1.500
|
1.750
|
0.378
|
0.403
|
|
3/4
|
10
|
1.254
|
1.299
|
1.100
|
1.125
|
1.750
|
2.000
|
0.455
|
0.483
|
|
7/8
|
9
|
1.465
|
1.516
|
1.285
|
1.312
|
2.000
|
2.250
|
0.531
|
0.563
|
|
1
|
8
|
1.675
|
1.732
|
1.469
|
1.500
|
2.250
|
2.500
|
0.591
|
0.627
|
|
1-1/8
|
8
|
1.859
|
1.949
|
1.631
|
1.688
|
2.500
|
2.750
|
0.658
|
0.718
|
|
1-1/4
|
8
|
2.066
|
2.165
|
1.812
|
1.875
|
2.750
|
3.000
|
0.749
|
0.813
|
|
1-3/8
|
8
|
2.273
|
2.382
|
1.994
|
2.062
|
3.000
|
3.250
|
0.810
|
0.878
|
|
1-1/2
|
8
|
2.48
|
2.598
|
2.175
|
2.250
|
3.250
|
3.500
|
0.902
|
0.974
|
|
1-5/8
|
8
|
2.686
|
2.815
|
2.356
|
2.438
|
3.500
|
3.750
|
0.962
|
1.038
|
|
1-3/4
|
8
|
2.893
|
3.031
|
2.538
|
2.625
|
3.750
|
4.000
|
1.054
|
1.134
|
|
1-7/8
|
8
|
3.099
|
3.248
|
2.719
|
2.812
|
4.000
|
4.250
|
1.114
|
1.198
|
|
2
|
8
|
3.306
|
3.464
|
2.900
|
3.000
|
4.250
|
4.500
|
1.175
|
1.263
|
|
2-1/4
|
8
|
3.719
|
3.897
|
3.262
|
3.375
|
-
|
5.000
|
1.327
|
1.423
|
|
2-1/2
|
8
|
4.133
|
4.33
|
3.625
|
3.750
|
-
|
5.500
|
1.479
|
1.583
|
|
2-3/4
|
8
|
4.546
|
4.763
|
3.988
|
4.125
|
-
|
6.000
|
1.632
|
1.744
|
|
3
|
8
|
4.959
|
5.196
|
4.350
|
4.500
|
-
|
6.500
|
1.815
|
1.935
|
ASTM A307 Calidad A ASME B18.2.1 Tornillos hexagonales Chapado en zinc