Calidad 10.9 - EN14399 HV Tornillos hexagonales para estructura de acero - Negro
Calidad 10.9 - EN14399 HV Tornillos hexagonales para estructura de acero - Negro

|
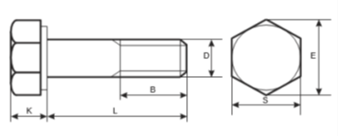
Size – D
|
Pitch (p)
|
E (Min.)
|
S (Min.)
|
S (Max.)
|
B (Min.)
|
B Max.)
|
K (Min.)
|
K (Max.)
|
|
M16
|
2
|
29.56
|
26.16
|
27
|
28
|
30
|
9.25
|
10.75
|
|
M20
|
2.5
|
35.03
|
31
|
32
|
33
|
35.5
|
12.1
|
13.9
|
|
M22
|
2.5
|
39.55
|
35
|
36
|
34
|
36.5
|
13.1
|
14.9
|
|
M24
|
3
|
45.2
|
40
|
41
|
39
|
43
|
14.1
|
15.9
|
|
M27
|
3
|
50.85
|
45
|
46
|
41
|
45
|
16.1
|
17.9
|
|
M30
|
3.5
|
55.37
|
49
|
50
|
44
|
49.5
|
17.95
|
20.05
|
|
M36
|
4
|
66.44
|
58.8
|
60
|
52
|
59
|
21.95
|
24.05
|
Calidad 10.9 - EN14399 HV Tornillos hexagonales para estructura de acero - Negro