Calidad 4.8 - DIN 960 - ISO 8765 - UNI 5738 Tornillos hexagonales - Chapado en zinc
Calidad 4.8 - DIN 960 - ISO 8765 - UNI 5738 Tornillos hexagonales - Chapado en zinc

|
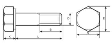
Size – D
|
Pitch (p)
|
E (Min.)
|
S (Min.)
|
S (Max.)
|
B
L ≤ 125
|
B
L : 125-200
|
B
L ≥ 200
|
K (Min.)
|
K (Max.)
|
|
M8
|
1
|
14.38
|
12.57
|
13
|
22
|
28
|
-
|
5.1
|
5.6
|
|
M10
|
1-
1.25
|
18.72
|
16.57
|
17
|
26
|
32
|
45
|
6.2
|
7
|
|
M12
|
1.25
– 1.5
|
20.88
|
18.48
|
19
|
30
|
36
|
49
|
7.2
|
8
|
|
M14
|
1.5
|
23.91
|
21.16
|
22
|
34
|
40
|
53
|
9
|
8
|
|
M16
|
1.5
|
26.17
|
23.16
|
24
|
38
|
44
|
57
|
9.71
|
10.29
|
|
M18
|
1.5
– 2
|
29.56
|
26.16
|
27
|
42
|
48
|
61
|
11.15
|
11.85
|
|
M20
|
1.5
– 2
|
32.95
|
29.16
|
30
|
46
|
52
|
65
|
12.15
|
12.85
|
|
M22
|
1.5
– 2
|
37.29
|
33
|
34
|
50
|
56
|
69
|
13.65
|
14.35
|
|
M24
|
1.5
– 2
|
39.55
|
35
|
36
|
54
|
60
|
73
|
14.65
|
15.35
|
|
M27
|
2
|
45.2
|
40
|
41
|
60
|
66
|
79
|
16.65
|
17.35
|
|
M30
|
2
|
50.85
|
45
|
46
|
66
|
72
|
85
|
18.18
|
19.12
|
|
M33
|
2
|
55.37
|
49
|
50
|
72
|
78
|
91
|
20.58
|
21.42
|
|
M36
|
3
|
60.79
|
53.8
|
55
|
78
|
84
|
97
|
22.08
|
22.92
|
|
M39
|
3
|
66.44
|
58.8
|
60
|
84
|
90
|
103
|
24.58
|
25.42
|
|
M42
|
3
|
71.3
|
63.1
|
65
|
90
|
96
|
109
|
25.58
|
26.42
|
|
M45
|
3
|
76.95
|
68.1
|
70
|
96
|
102
|
115
|
27.58
|
28.42
|
|
M48
|
3
|
82.6
|
73.1
|
75
|
102
|
108
|
121
|
29.58
|
30.42
|
|
M52
|
3
|
88.25
|
78.1
|
80
|
110
|
116
|
129
|
32.5
|
33.5
|
Calidad 4.8 - DIN 960 - ISO 8765 - UNI 5738 Tornillos hexagonales - Chapado en zinc