I8I Qualité DIN 934 - ISO 4032 - UNI 5588 Ecrou hexagonaux Zingué
DIN 934 - ISO 4032 - UNI 5588 Ecrou hexagonaux I8I Qualité Zingué

|
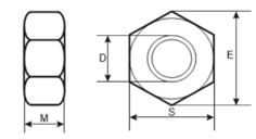
Size – D
|
Pitch (p)
|
E (Min.)
|
S (Min.)
|
S (Max.)
|
M (Min.)
|
M (Max.)
|
|
M8
|
1.25
|
14.4
|
12.7
|
13
|
6.4
|
6.8
|
|
M10
|
1.5
|
17.8
|
15.7
|
16
|
8
|
8.4
|
|
M12
|
1.75
|
20
|
17.7
|
18
|
10.4
|
10.8
|
|
M16
|
2
|
26.8
|
23.7
|
24
|
14.1
|
14.8
|
|
M18
|
2.5
|
29.6
|
26.2
|
27
|
15.1
|
15.8
|
|
M20
|
2.5
|
33
|
29.2
|
30
|
16.9
|
18
|
|
M22
|
2.5
|
37.3
|
33
|
34
|
18.1
|
19.4
|
|
M24
|
3
|
39.6
|
35
|
36
|
20.2
|
21.5
|
|
M27
|
3
|
45.2
|
40
|
41
|
22.5
|
23.8
|
|
M30
|
3.5
|
50.9
|
45
|
46
|
24.3
|
25.6
|
|
M33
|
3.5
|
55.4
|
49
|
50
|
27.4
|
26.7
|
|
M36
|
4
|
60.8
|
53.8
|
55
|
29.4
|
31
|
|
M39
|
4
|
66.4
|
58.8
|
60
|
31.8
|
33.4
|
|
M42
|
4.5
|
71.3
|
63.1
|
65
|
32.4
|
34
|
|
M45
|
4.5
|
77
|
68.1
|
70
|
34.4
|
36
|
|
M48
|
5
|
82.6
|
73.1
|
75
|
36.4
|
38
|
|
M52
|
5
|
88.3
|
78.1
|
80
|
40.4
|
42
|
|
M56
|
5.5
|
93.6
|
82.8
|
85
|
43.4
|
45
|
|
M60
|
5.5
|
99.2
|
87.8
|
90
|
46.4
|
48
|
|
M64
|
6
|
104.9
|
92.8
|
95
|
49.1
|
51
|
I8I Qualité DIN 934 - ISO 4032 - UNI 5588 Ecrou hexagonaux Zingué